стр. 25, Физические и биологические основы устойчивости жизни 025.jpg
 

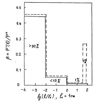
Рис. 1.7.1 Распределение скорости разложения (деструкции) органических веществ по размерам тел организмов (бактерий, грибов, животных), разлагающих органические вещества на суше. , - спектральная плотность относительной деструкции, производимой организмами с размером тела l, Р+ - продукция растений суши (чистая первичная продукция), см. главу 5. Сплошная линия - универсальное распределение, наблюдаемое для невозмущенных экосистем (раздел 5.6). Площадь под сплошной кривой равна единице. Цифры в процентах - относительный вклад различных частей гистограммы. Штриховая линия - современное глобальное распределение на суше с учетом антропогенного возмущения. Площадь под антропогенным пиком (7%) соответствует пище людей, скота и потреблению древесины (раздел 6.5). Разность площадей под штриховой и сплошной линиями, характеризующая разомкнутость биохимического круговорота, получена по данным изменения глобального круговорота углерода и близка к площади антропогенного пика (раздел 4.12).

     
   25  
  << страница
<< раздел
<< глава
Содержание
страница >>
раздел >>
глава >>